皇冠信用网在线注册_2023年社工新考生考试报名注册及学历在线核验流程?
皇冠信用盘足球代理(www.hg01.vip)-开会_员出_租平_台,皇冠体育/—开会员账号—(招登1登2登3管理(代理出租,2023年的社工考试定于6月10、11日举行,社工考试报名将于3-4月开启,对于计划参加此次考试的新考生,应及早注册及完善学历信息皇冠信用网在线注册。
考试报名前,小羊提醒大家先完成这三步:账号注册,照片上传,学历核验皇冠信用网在线注册。
尤其学历核验需24小时才能通过审核,所以提前完成这些步骤很有必要,届时报名通道开启,就直接可以报名啦皇冠信用网在线注册。

01新用户账号注册操作流程
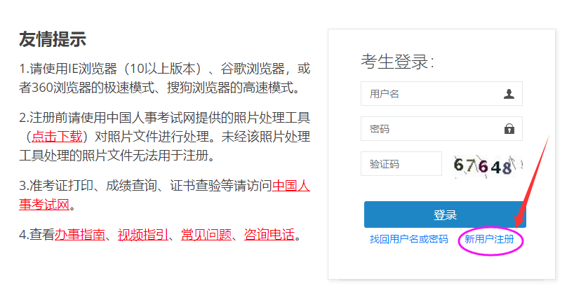
1、进入中国人事考试网皇冠信用网在线注册,选择【网上报名入口】进入登录页面,点击【新用户注册】

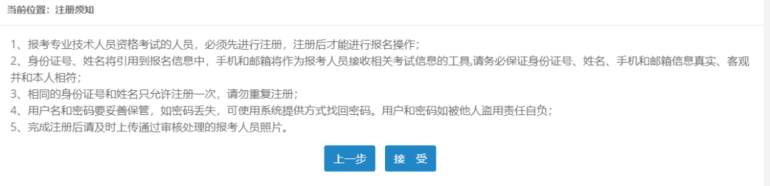
2、接受【专业技术人员资格考试网上报名协议】——查看【注册须知】

展开全文
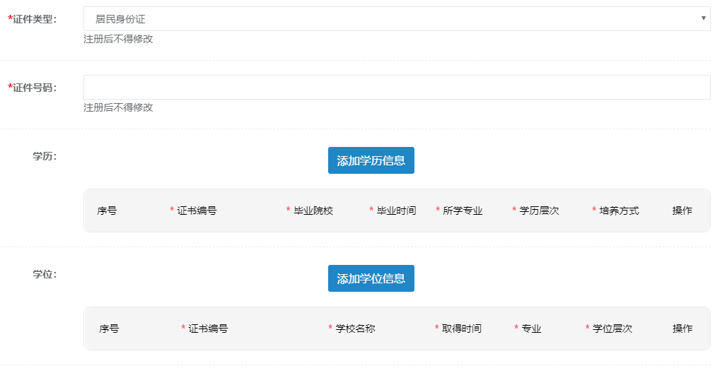
3、填写注册信息皇冠信用网在线注册。其中带*号的是必填项;证件号码,可以选择使用身份证、军官证、护照或港澳台居民身份证进行注册。其中一定要牢记邮箱和密码找回问题,以便找回密码。


4、填写完毕确认无误后点击【提交】,出现信息确认,需要考生重新输入姓名、证件号码进行确认皇冠信用网在线注册。点击【确定】后,提示“注册成功”,再点击【确定】,系统自动返回考生登录界面,填写用户名、密码、验证码后即可登录系统。
重要提示:
(1)一个身份证号和姓名只能注册一次皇冠信用网在线注册,请勿重复注册
(2)确保身份证号、姓名、邮箱和手机信息完整准确
(3)牢记用户名和密码皇冠信用网在线注册,丢失或忘记后用下面方法找回
(4)如姓名中有生僻字无法输入,可以使用同音字加中括号代替皇冠信用网在线注册。
02报名考生学历在线核验步骤
一、新考生皇冠信用网在线注册,未注册账号人员
打开“全国专业技术人员资格考试报名服务平台”,未注册账号,请先点击注册,注册时填写学历信息皇冠信用网在线注册。

二、老考生或已注册账户人员
请直接点击登录,再点击右侧的学历学位信息维护皇冠信用网在线注册。(注意:没有学位,可以不填写学位信息。如果毕业证书不在身边,可以在学信网中查看你自己的“教育部学历证书电子注册备案表 ”,上面有证书编号的。)

注意事项
核验结果查看
核验结果查看:在线核验结果一般在24小时后可以查看核验状态皇冠信用网在线注册。查看方式如下:1.登录报名系统,点击右上角“注册维护”,进入页面后点击“修改学历”。如下图所示

猜你喜欢
- 2026-03-21皇冠信用盘怎么开户 _鲍亚雄第13分钟拖延开球时间,被裁判出示黄牌警告背后的战术分析
- 2026-03-21皇冠信用盘开户 _视频丨日本东电公司公布福岛核电站3号机组反应堆内部画面
- 2026-03-20皇冠信用盘 _以一敌二!“万吨大驱”南昌舰逼退外舰 细节公布
- 2026-03-18皇冠信用盘申请 _大连女子不慎剐蹭无牌车,联系不上车主报警求助,竟牵出“案中案”!
- 2026-03-17皇冠信用盘在线开户 _“打假人”王海:你怎么能把鸡蛋做得那么橙黄?黄天鹅创始人冯斌:我们没有做错什么!
- 2026-03-15皇冠信用盘在哪里开通 _315晚会 | AI“投毒”产业链遭曝光,通过虚假信息和大量发稿可操控AI大模型
- 2026-03-15皇冠信用盘押金多少 _伊朗回应“内塔尼亚胡身亡传言”:就算他还活着,也将全力追杀
- 2026-03-15世界杯皇冠信用盘平台 _最大温差16℃,下周烟台或迎一轮降雨!
- 2026-03-14正版皇冠信用网开户 _安世中国区的声明一出,鹰派内阁知道,半导体这件事,荷兰搞砸了
- 2026-03-13信用平台出租 _美防长声称:伊朗新任最高领袖可能已“毁容”
- 2026-03-12埃及 vs 伊朗 _世界杯资格赛-李月汝21+11韩旭14分 中国女篮首战胜马里
- 2026-03-08皇冠信用会员账号注册_失灵的“铁穹”:伊朗“灭国神器”首战封神,带来巨大灾难


网友评论